直流電如何安裝浪涌保護器?
直流電源防雷浪涌保護器相對交流SPD防雷器的應用場景少一些,所以很多朋友對直流浪涌保護器的安裝接線不是很熟悉。
那么,直流電如何安裝浪涌保護器呢?
根據防雷浪涌保護器選型經驗,中為防雷從如下內容介紹:
直流浪涌保護器的安裝接線主要分為串聯和并聯兩種方式:
1、串聯安裝
串聯式直流浪涌保護器主要用于5V、12V和24V等低電壓直流電,防雷器為串聯接線,內部設置多級防護。
如下圖所示,直流電源線路的正極和負極線路串聯接入直流浪涌保護器的+和-端子上,地線接入防雷器的PE端子即可。
這種串聯式的直流浪涌保護器最大接入線徑≤2.5平方,防雷器最大負載電流為2A,固定方式為35mm標準導軌安裝。
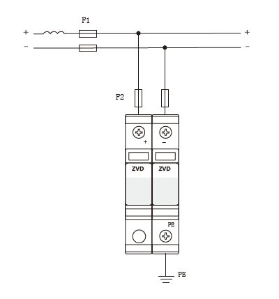
2、并聯安裝
并聯式直流浪涌保護器可以用于12VDC~1500VDC系統,因為沒有負載電流的要求,所以廣泛應用于各種大電流直流系統,比如光伏發電、通信直流電源等。
該產品安裝方式和交流2P的浪涌保護器有點類似,將直流電的正極和負極并聯接入防雷器的+和-端子,在從PE端子接出地線進行接地即可。
并聯安裝的直流浪涌保護器通流量為標稱20kA最大40kA的產品,推薦安裝線徑是正負極線路≥2.5平方,地線≥6平方。
前端后備保護器F2推薦為32A左右的開關或熔斷器。
實物圖和安裝接線圖如下所示:
詳細的直流浪涌保護器產品介紹可以點擊查看:http://www.cn-sublime.com/dcspd/

總結:以上就是關于直流電如何安裝浪涌保護器的介紹,需要先根據電壓和電流等級選擇串聯或者并聯,在根據上面的安裝接線介紹進行安裝即可。
ZVD中為防雷,轉載需授權!http://www.cn-sublime.com/knowledge/0324385.html
廣東中為智能防雷技術有限公司
